管道泵的正確安裝才能正常工作,關于管道泵如何正確安裝,下面通過文章為你介紹。
管道泵是進出水口都位于同于直線、進出水口大小和高度相同,電機和葉輪可拆除的立式離心泵,故又名管道式離心泵。管道泵因為進出水口大小和高度相同,相對安裝比較簡單,維護不用拆除管路等系列優點而被廣泛用于建筑和工業生產領域。
管道泵分為兩種:立式單級管道泵和立式多級管道泵,安裝示意圖和安裝管閥附件都一樣。
一、立式單級管道泵安裝圖

立式單級管道泵安裝圖
安裝附件:1、6為進出水閘閥,2、5為指針壓力表,3、4為進出水軟接,如果管道泵需要自動運行,需要在泵的出水口安裝壓力傳感器(配合水泵自動控制柜)和單向閥。需要注意的是:比較小的立式單級管道泵可以臥式安裝,太大的不能,防止轉子太重偏心運行。
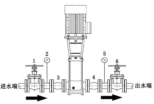
二、立式多級管道泵安裝圖

立式多級管道泵安裝圖
安裝附件:1、6為進出水閘閥,2、5為指針壓力表,3、4為進出水軟接,如果管道泵需要自動運行,需要在泵的出水口安裝壓力傳感器(配合水泵自動控制柜)和單向閥。
手機號:13968963669
13706783559?
電話:021-33897881
傳真:021-33897881
地址:上海市松江區葉榭鎮富成路896號